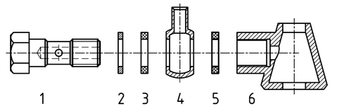
نقشهی انفجاری
نقشهی انفجاری، نقشهای است که یک مجموعه را به صورت بازشده (دوبُعدییا سهبُعدی) معرفی میکند.


کاربرد گستردهی نقشههای انفجاری در موارد زیر است:
1- طراحی: در بیشتر موارد، نقشهی انفجاری پس از نقشهی ترکیبی درمجموعهی نقشهها قرار میگیرد.
2- برنامهریزی: نقشهی انفجاری میتواند در بالابردندرک کسانی که در برنامهریزیها شرکت دارند ولی با نقشهخوانی به خوبی آشنانیستند، نسبت به پروژهی مورد نظر بسیار مؤثر باشد.
3- تعمیرات: از آنجایی که بسیاری از تعمیرکاران بانقشهخوانی آشنا نیستند، یک نقشهی انفجاری میتواند به آنها در چگونگی باز کردنیک وسیله از یک دستگاه و سپس بستن آن کمک کند.
4- سرویس: نقشهی انفجاری برای سرویس و نگهداری بسیاری از لوازم صنعتی،اداری، خانگی و ... مفید بوده و کاربر میتواند بخشهایی از یک دستگاه را باز،سرویس یا تمیز نموده و دوباره ببندد.
5- ساخت: سازندگان با توجه به پیچیده و مشکل بودن بسیاری از نقشههای دوبُعدی، ناگزیر به استفاده از نقشههای انفجاری برای اطمینان بیشتر، هستند.
در ترسیم درست یک نقشهی انفجاری، میبايست به نكات زير توجه كرد:
1- برای هر قطعه شکل حقیقی آن در نظر گرفته میشود.
2- میتوان از رسم اجزای تکراری خودداری کرد.
3- هر قطعه، شمارهگذاری میشود و شماره در کنار قطعه نوشته میشود.
4- کاربرد انواع برش امکانپذیر است.
5- این نقشهها معمولاً اندازهگذاری نمیشوند.
نقشهی اجرایی
نقشهی اجرایی، نقشهای است که برای تولید ارائه میشود. ایننقشه باید پاسخگوی همهی نیازهای ساخت، کنترل کیفیت و مونتاژ باشد.
آن چه که از دفتر نقشهکشی ارائه میشود میتواند شامل مواردزیر باشد.
1- نقشهی ترکیبی روی یک برگه.
2- نقشهی انفجاری روی یک برگه.
3- نقشهی سادهی تکتک قطعات، هر کدام روی یک برگه.
4- نقشههای کنترل کیفیت.
نقشههای ساده باید شامل همهی نیازهای ساخت مانند اندازهها،پرداختها، تولرانسها و . . . باشند. نقشههای کنترل کیفیت، شامل تولرانسهایهندسی هم خواهند بود.
